Table des matières
Scanner Brother DSmobile 820W/920DW
Compatibilité
Pré-requis
Installation
Pour les utilisateurs de DSmobile 920DW : les images présentées dans ce guide sont celles de DSmobile 820W.
Déballer l’appareil et vérifier les composants
Si votre ordinateur ne comporte pas de lecteur de DVD-ROM, si le DVD-ROM fourni ne contient pas les pilotes de votre système d’exploitation ou si vous souhaitez télécharger des manuels et utilitaires, visitez la page correspondant à votre modèle à l’adresse http://support.brother.com
-
Retirez l’emballage.
-
Vérifiez que vous disposez bien de tous les composants.
Avant d’utiliser le scanner
-
Vérifiez que votre ordinateur EST ALLUMÉ.
-
Si vous n’utilisez pas le scanner pendant une longue période, rechargez complètement la batterie au moins une fois tous les six mois pour prolonger sa capacité. Stockez-la également dans un endroit frais et sec, à une température constante.Si vous ne comptez pas utiliser le scanner pendant une longue période, retirez sa batterie.
* Insérez délicatement la carte mémoire SD fournie dans l’emplacement pour carte mémoire
du scanner.

Numériser un document sur la carte mémoire
Pour numériser un document via votre ordinateur (Mode TWAIN), vous devez installer les pilotes et logiciels du scanner (voir étape 5) et connecter votre ordinateur au scanner (voir Connexion du scanner à l’ordinateur en Mode TWAIN dans le Guide de l’utilisateur).
-
Assurez-vous que la carte mémoire SD est insérée dans l’emplacement pour carte mémoire du scanner.
-
Assurez-vous que SD s’affiche sur l’écran LCD du scanner.
-
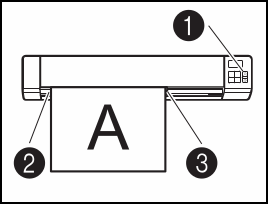
Insérez votre document, face tournée vers le haut, dans la fente d’alimentation. Alignez le document avec le côté gauche (2) de la fente d’alimentation. Faites glisser le guide-document (3) jusqu’à ce qu’il touche le côté droit du document.
Pour DSmobile 920DW : lorsque vous effectuez une numérisation recto verso, insérez la première page face tournée vers le haut dans la fente d’alimentation.
-
Poussez délicatement le document jusqu’à ce que vous sentiez que son bord supérieur touche l’intérieur du scanner.
-
La numérisation commence automatiquement. L’image numérisée est enregistrée sur la carte mémoire SD.
Parcourir les images numérisées via un réseau sans fil
-
Si vous n’avez pas défini de mot de passe pour le réseau Wi-Fi ® , veillez à tout d’abord configurer un mot de passe réseau dans votre navigateur Web. Pour plus d’informations sur la définition d’un mot de passe, consultez la section Définition d’un mot de passe pour le réseau Wi-Fi ® dans le Guide de l’utilisateur.
-
Sans mot de passe pour le réseau Wi-Fi ® , un tiers peut consulter et voler les données enregistrées sur votre carte SD.
Localiser le scanner sur votre réseau sans fil
-
Activez la fonction Wi-Fi ® de votre équipement sans fil (ordinateur, smartphone, tablette, etc.) afin qu’il puisse rechercher le scanner.
-
Sur votre appareil sans fil, sélectionnez le SSID du scanner, Brother DS-820W-xxxx (Brother DS-920DW-xxxx). (Où xxxx = l’adresse MAC (Media Access Control) du scanner.)
Parcourir les images numérisées sur la carte mémoire du scanner
-
Assurez-vous que la carte mémoire SD est insérée dans l’emplacement pour carte mémoire du scanner.
-
Lancez un navigateur Web sur votre appareil sans fil et saisissez http://10.10.100.1 (l’adresse IP du scanner) dans la barre d’adresse. Lorsque vous affichez des images numérisées pour la première fois, l’écran Configuration du mot de passe s’affiche. Définissez un mot de passe et cliquez sur Appliquer. Sivous avez déjà défini votre mot de passe, connectez-vous en le saisissant. La page d’accueil du scanner s’affiche dans le navigateur. Lorsque des images numérisées sont enregistrées sur la carte mémoire, elles s’affichent sur l’écran d’accueil.
-
Vous pouvez également afficher les images numérisées stockées sur la carte mémoire en utilisant un point d’accès. Pour plus d’informations, consultez la section Connexion en mode Infrastructure du Guide de l’utilisateur.
-
Après avoir affiché les données numérisées, faites glisser le commutateur Wi-Fi ® sur OFF (Arrêt) pour prolonger l’autonomie de la batterie.
Afficher les images numérisées via AndroidTM/iOS
Si vous souhaitez utiliser Avision (miwand) pour parcourir ou télécharger les images du scanner, installez l’application depuis Google Play (AndroidTM) ou l’App Store (iOS) sur votre équipement sans fil (ordinateur, smartphone, tablette, etc.).
Installer les pilotes du scanner et les logiciels de numérisation
Assurez-vous que l’ordinateur EST ALLUMÉ et que vous êtes connecté avec des droits d’administrateur. Si votre ordinateur ne comporte pas de lecteur de DVD-ROM, téléchargez le pilote du scanner depuis Brother Solutions Center, à l’adresse http://support.brother.com
Utilisateurs Windows ®
Installation du pilote
Insérez le DVD-ROM. Lorsque l’écran Menu principal s’affiche, cliquez sur Installer le pilote du scanner et suivez les instructions à l’écran.
DSmobileCapture (une application de numérisation) sera installée en même temps que le pilote du scanner. Pour plus d’informations sur l’utilisation de DSmobileCapture, consultez Utilisation de DSmobileCapture (Windows ® ) dans le Guide de l’utilisateur.
Installation des logiciels
Cliquez sur Applications supplémentaires dans le Menu principal pour afficher les applications pouvant être installées :
-
Button Manager V2 : permet de parcourir et de stocker des documents.
-
PaperPortTM 12SE : permet de numériser, modifier et gérer des documents.
-
Presto! BizCard 6 : permet de numériser, modifier et gérer des cartes de visite.
Pour savoir quelle application de numérisation vous conviendrait le mieux, consultez Choix de votre logiciel de numérisation dans le Guide de l’utilisateur.
Guide de l’utilisateur et FAQ
-
Le Guide de l’utilisateur de cet appareil figure sur le DVD-ROM fourni. Si votre ordinateur ne comporte pas de lecteur de DVD-ROM, vous pouvez télécharger les manuels en consultant la page correspondant à votre modèle sur http://support.brother.com
-
Utilisateurs Windows® Insérez le DVD-ROM. Lorsque le Menu principal s’affiche, cliquez sur Guide de l’utilisateur.
FAQ : Pour accéder au FAQ (forum aux questions), au support produit, aux questions techniques, aux mises à jour de pilotes, aux utilitaires et aux Guides de l’utilisateur, accédez à la page correspondant à votre modèle sur : http://support.brother.comConfiguration
Utilisation
Voir aussi
-










